Bộ vị trí cho máy khắc laser ACMER P2

Những người định vị này có thể được vặn vào một tấm cơ sở. Chúng cho phép đặt laser với độ lặp lại cao.

👁️
896
Lượt Xem
❤️
13
Lượt Thích
📥
118
Lượt Tải
Cập Nhật Dec 18, 2025
Chi tiết
Tải xuống
Bình Luận
Khoe bản in
Remix

Mô tả

Nội dung được dịch bằng AI

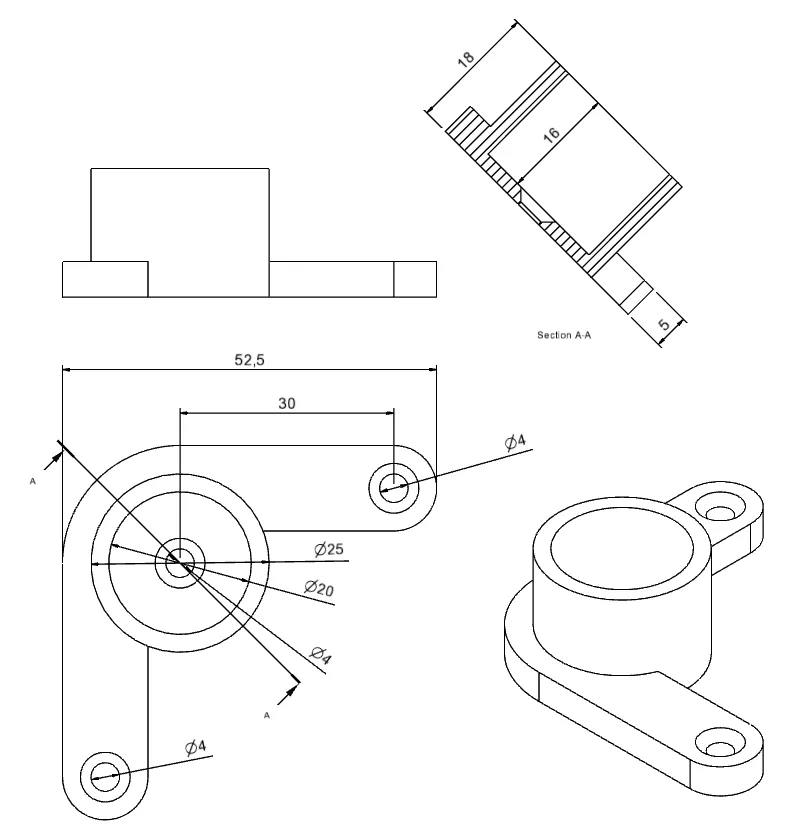
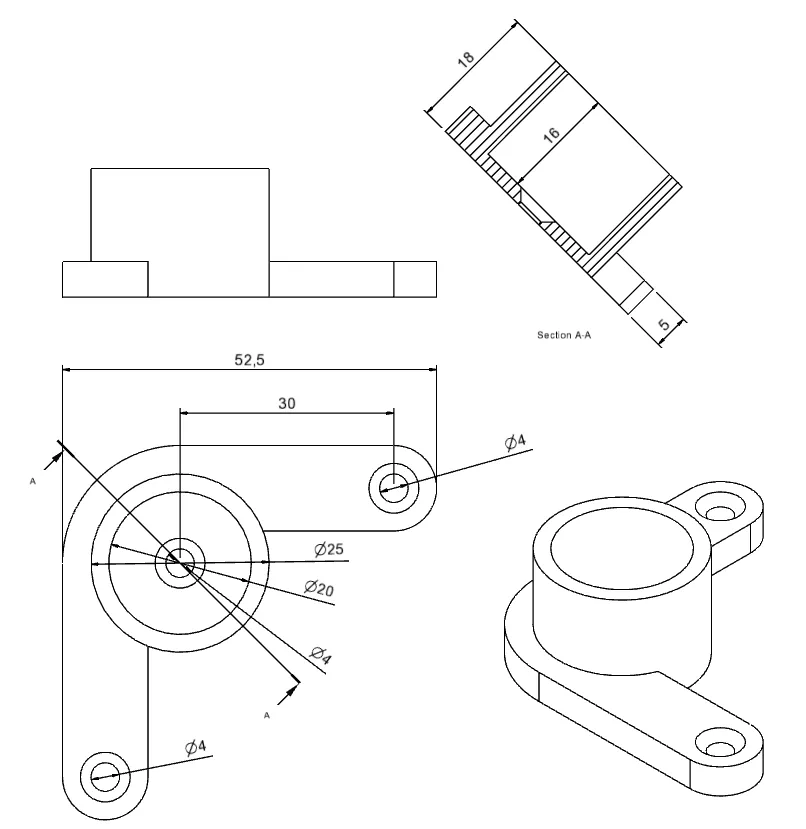
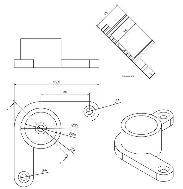
Một người bạn của tôi muốn tự xây dựng đế cho máy khắc laser ACMER P2. Tôi đã thiết kế những bộ định vị này cho phép tách rời đế và máy khắc laser để dễ dàng lưu trữ và sử dụng linh hoạt hơn. Các bộ định vị cho phép máy in được căn chỉnh với độ lặp lại cao trên đế. ##### Chân nâng cho máy in: Các bộ định vị được thiết kế để phù hợp với chân nâng nguyên bản của ACMER mà tôi đã liên kết bên dưới. Ngoài ra, bạn có thể tự in chân nâng, được cung cấp bởi người dùng @Les impressions D'ega: https://www.f3d.vn/3d-model/44229-gia-do-50-mm-cho-mo-dun-acmer-p2 Chân nâng nguyên bản (Vui lòng đo chân nâng của bạn để kiểm tra độ vừa vặn): https://acmerlaser.com/en-de/products/metal-heightening-risers-for-acmer-p1-p28-packs?variant=44089797640418 ##### Lưới đế: Lưới được hiển thị trong các hình ảnh được cung cấp bởi Youtuber Gipfelholz. Kênh: https://m.youtube.com/channel/UCcsYNmZAtStYBq_1e1lpB1g Lưới: https://werkzeugshop.gipfelholz.de/wp-content/uploads/2022/07/Laser-Gitter-400x400-1.zip ##### Các bộ phận cần thiết: - 8x - 12x vít gỗ

  • 1x đế theo lựa chọn của bạn
  • 4x bộ định vị đã in ##### Hướng dẫn in: - Vật liệu in theo lựa chọn của bạn
  • Chiều cao lớp 0,2 mm
  • KHÔNG cần hỗ trợ
  • Tùy thuộc vào việc điều chỉnh máy in của bạn, bạn có thể cần điều chỉnh kích thước mô hình từ 1-2% để đảm bảo độ vừa vặn tốt hơn của đường kính bên trong ##### Lắp ráp: 1. Căn chỉnh bộ định vị đầu tiên trên đế ở vị trí mong muốn.
  1. Tôi gợi ý làm mọi thứ song song với các cạnh của đế.
  2. Vặn vít vào bộ định vị đầu tiên.
  3. Đặt laser vào bộ định vị và lắp ba bộ định vị còn lại một cách lỏng lẻo dưới chân nâng.
  4. Đánh dấu vị trí của các bộ định vị.
  5. Gỡ laser và vặn vít vào các bộ định vị.
  6. Bạn có thể muốn căn chỉnh và đánh dấu từng bộ định vị một để đảm bảo căn chỉnh chính xác. ##### Gợi ý sử dụng: - Sau khi cài đặt, bạn có thể khắc lưới định vị của riêng bạn trên tấm nền.
  • Sau khi cài đặt, bạn có thể đánh dấu lỗ và vị trí cho thiết bị trên tấm nền.
  • Tùy thuộc vào vật liệu bạn chọn, chẳng hạn như gỗ, và độ dày, bạn có thể muốn gia cố tấm với một khung từ bên dưới. Tôi rất vui khi thấy một số sản phẩm của bạn được đăng tải :) Các tệp nguồn ở định dạng Alibre Atom có sẵn nhưng trang web không cho phép tải lên. Nếu bạn cần, hãy gửi cho tôi một tin nhắn.

Giấy phép

Tác phẩm này được cấp phép theo

Creative Commons — Attribution — Noncommercial — Share Alike

CC-BY-NC-SA

Yêu cầu ghi công
Remix & phái sinh Được phép
Sử dụng thương mại Không được phép

File mô hình

TẤT CẢ FILE MÔ HÌNH (2 Tập tin)
Đang tải files, vui lòng chờ...
Vui lòng đăng nhập để bình luận.

Chưa có bình luận nào. Hãy là người đầu tiên!

Vui lòng đăng nhập để khoe bản in của bạn.

Chưa có bản in nào được khoe. Hãy là người đầu tiên!

Remix (0)