Follower băng đạn CZ 75 (CZ 75 follower)

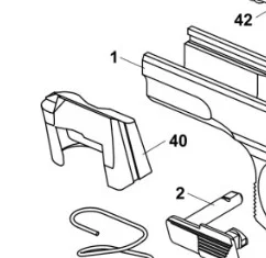
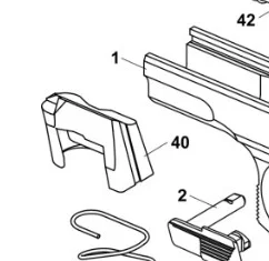
Mẫu CZ 75 follower cho băng đạn, bản sao follower zin của CZ 75 P-01 Ω (nr. 40 trong manual). Đã test in PETG chạy rất ổn; ABS có thể tốt hơn nhưng khó in. Khuyến nghị chà nhám + nước để mặt tiếp xúc trơn hơn.

👁️
596
Lượt Xem
❤️
6
Lượt Thích
📥
158
Lượt Tải
Cập Nhật Apr 20, 2026
Chi tiết
Tải xuống
Bình Luận
Khoe bản in
Remix

Mô tả

Đây là một trong nhiều phiên bản follower cho băng đạn CZ 75. Phiên bản này là bản sao của follower băng đạn nguyên bản của CZ 75 P-01 Ω (số 40 trong manual). Sản phẩm đã được test với PETG và chạy rất ngon. Lựa chọn tốt nhất có lẽ là ABS (mình nghĩ đồ zin làm từ vật liệu này), nhưng vật liệu này khá “nhạy” và mình không hài lòng với kết quả in ra. Bạn tự thử nha.

Thành phẩm nên được hoàn thiện bằng giấy nhám + nước, đặc biệt là bề mặt tiếp xúc với viên đạn (round). Khi xử lý vậy bề mặt tiếp xúc sẽ trơn hơn.

Giấy phép

Tác phẩm này được cấp phép theo

Creative Commons — Attribution — Noncommercial

CC-BY-NC

Yêu cầu ghi công
Remix & phái sinh Được phép
Sử dụng thương mại Không được phép

File mô hình

TẤT CẢ FILE MÔ HÌNH (3 Tập tin)
Đang tải files, vui lòng chờ...
Vui lòng đăng nhập để bình luận.

Chưa có bình luận nào. Hãy là người đầu tiên!

Vui lòng đăng nhập để khoe bản in của bạn.

Chưa có bản in nào được khoe. Hãy là người đầu tiên!

Remix (0)