Ống kiểm tra nguy cơ hóc nghẹn cho trẻ em

Hãy bảo vệ bé yêu bằng cách sử dụng ống kiểm tra này để xác định xem các vật dụng nhỏ có nguy cơ gây hóc nghẹn hay không. Thiết kế dựa trên tiêu chuẩn của CPSC, dễ in và dễ vệ sinh hơn các loại trên thị trường.

👁️
57
Lượt Xem
❤️
4
Lượt Thích
📥
2
Lượt Tải
Cập Nhật Mar 12, 2026
Chi tiết
Tải xuống
Bình Luận
Khoe bản in
Remix

Mô tả

Khi nhắc đến các trò chơi kích thích giác quan, chúng ta thường nghĩ ngay đến những hoạt động nghịch ngợm với các vật dụng nhỏ. Tuy nhiên, đôi khi những món đồ này lại tiềm ẩn nguy cơ gây hóc nghẹn cho trẻ nhỏ. Hãy sử dụng thiết bị này để kiểm tra độ an toàn của những món đồ chơi mà bạn dùng cho bé.

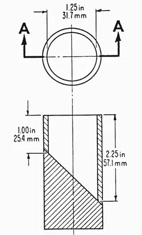
Kích thước bên trong được thiết kế dựa trên khuyến nghị về cấu hình và kích thước của Ủy ban An toàn Sản phẩm Tiêu dùng Hoa Kỳ (US CPSC). Về cơ bản, phần lòng ống mô phỏng lại hình dáng khí quản của trẻ nhỏ.

Nếu vật thể lọt vào bên trong ống với phần đáy được vát chéo, thì đó là mối nguy hiểm gây hóc nghẹn. Nếu vật đó bị kẹt lại phía trên, nghĩa là nó an toàn.

Điểm đặc biệt của mô hình này là góc vát được bo tròn (fillet), nên nếu chẳng may bị dính bẩn thì việc vệ sinh sẽ dễ dàng hơn nhiều so với các phiên bản thương mại bán sẵn ngoài thị trường vốn có giá lên đến 10 đô la! Trên máy in MK4, mô hình này chỉ mất khoảng một giờ in và tiêu tốn 20 gram filament, tương đương khoảng 50 cent.

Mình sẽ in thử nghiệm mô hình này bằng chất liệu PLA trong suốt và sẽ cập nhật hình ảnh sớm nhất có thể.

Lưu ý: Người dùng hiểu rằng họ tự chịu trách nhiệm khi sử dụng thiết bị này. Cả Printables và mình đều không chịu trách nhiệm cho các hậu quả phát sinh từ việc sử dụng hoặc áp dụng sai cách công cụ này!

Giấy phép

Tác phẩm này được cấp phép theo

Creative Commons — Attribution — Noncommercial — Share Alike

CC-BY-NC-SA

Yêu cầu ghi công
Remix & phái sinh Được phép
Sử dụng thương mại Không được phép

File mô hình

TẤT CẢ FILE MÔ HÌNH (3 Tập tin)
Đang tải files, vui lòng chờ...
Vui lòng đăng nhập để bình luận.

Chưa có bình luận nào. Hãy là người đầu tiên!

Vui lòng đăng nhập để khoe bản in của bạn.

Chưa có bản in nào được khoe. Hãy là người đầu tiên!

Remix (0)