Khuôn đúc chậu cây bê tông (Concrete planter mold)

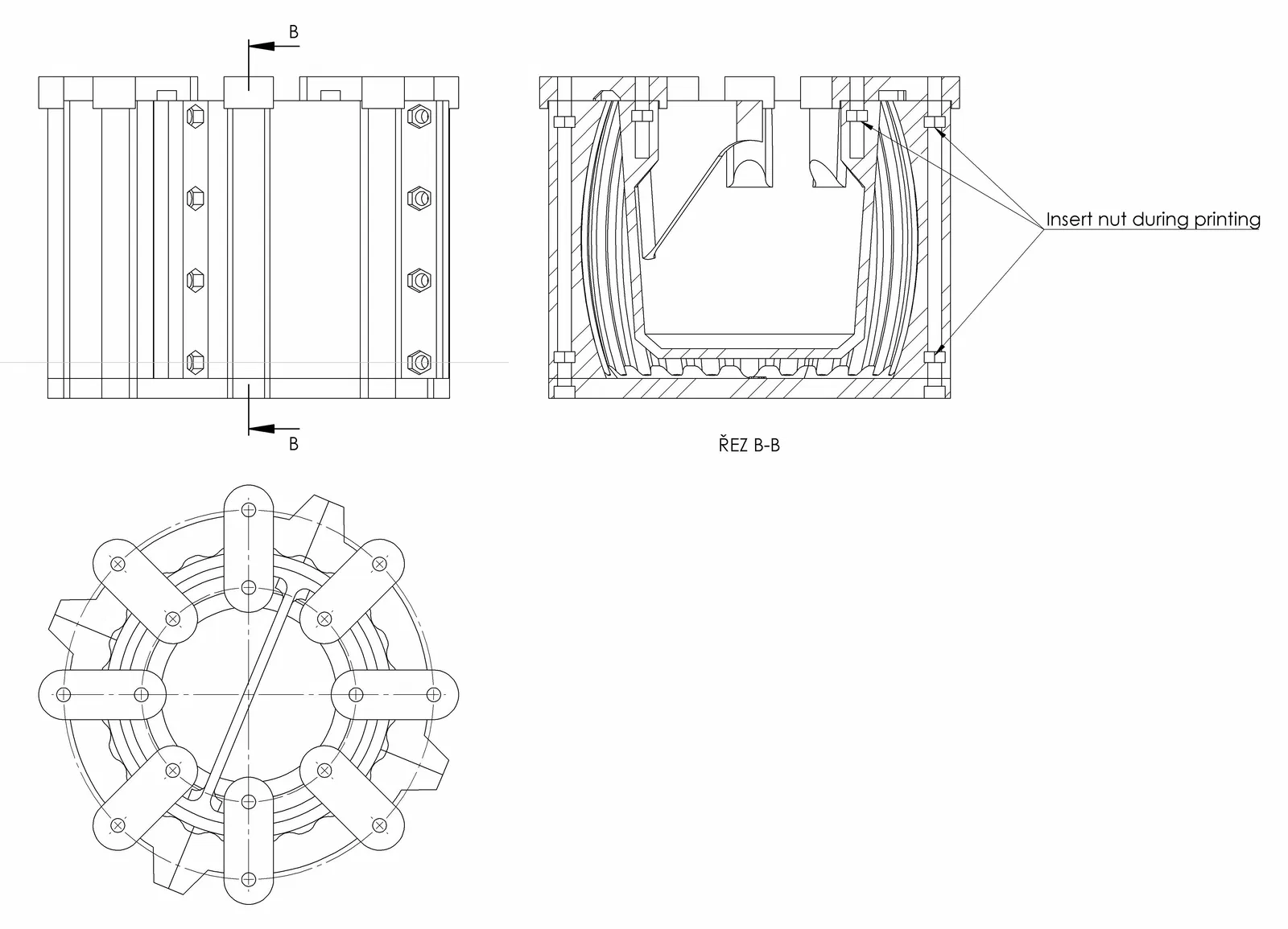
Bộ khuôn đúc chậu cây bê tông (Concrete planter mold) in 3D, dùng PETG (khuôn trong có thể in TPU). Có mốc tạm dừng để chèn ê-cu, danh sách vít/ê-cu M6 và hướng dẫn chống dính, tháo khuôn, lượng bê tông 1,46 L.

👁️
304
Lượt Xem
❤️
24
Lượt Thích
📥
36
Lượt Tải
Cập Nhật Feb 15, 2026
Chi tiết
Tải xuống
Bình Luận
Khoe bản in
Remix

Mô tả

Thông số kỹ thuật & Hướng dẫn

Vật liệu: PETG Chiều cao lớp (Layer Height): 0,2 mm Infill: 15%

Phần khuôn trong có thể in bằng TPU để dễ tháo ra khỏi bê tông hơn.

Mốc tạm dừng in để chèn ê-cu (nut):

  • Khuôn ngoài: 13,45 mm và 132,05 mm

  • Khuôn trong: 125,05 mm

Phần cứng (Fasteners):

  • Vít M6x30 đầu trụ (Socket Head Cap Screw): 40 cái

  • Ê-cu M6 (M6 Nut): 40 cái (trong đó cần chèn 24 cái vào khuôn trong lúc in)

Gợi ý:

  • Chống dính khuôn (Mold Release): Nên quét dầu tháo khuôn hoặc dùng dầu ăn thông thường để dễ lấy sản phẩm đúc ra.

  • Tháo khuôn (Demolding): Khi tháo khuôn, khuyên đổ đá lạnh vào phần khuôn trong rồi chờ một chút. Vật liệu sẽ co nhẹ nên phần trong sẽ tuột ra dễ hơn.

  • Thể tích bê tông: Tổng thể tích bê tông dùng là 1,46 L.

  • Cách đổ: Đổ bê tông vào khuôn đến mức cao 69 mm tính từ đáy. Sau đó ấn phần khuôn trong vào và siết cố định bằng vít.

Giấy phép

Tác phẩm này được cấp phép theo

Creative Commons — Attribution — Noncommercial — Share Alike

CC-BY-NC-SA

Yêu cầu ghi công
Remix & phái sinh Được phép
Sử dụng thương mại Không được phép

File mô hình

TẤT CẢ FILE MÔ HÌNH (2 Tập tin)
Đang tải files, vui lòng chờ...
Vui lòng đăng nhập để bình luận.

Chưa có bình luận nào. Hãy là người đầu tiên!

Vui lòng đăng nhập để khoe bản in của bạn.

Chưa có bản in nào được khoe. Hãy là người đầu tiên!

Remix (0)