Batteriehalter CR2032 CR-2032

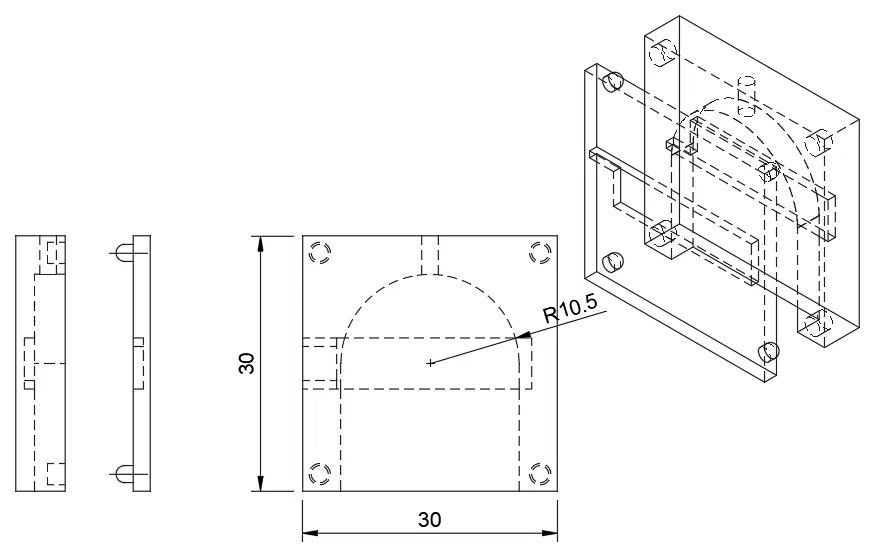
Halterung/đế giữ pin cúc áo CR2032 (CR-2032) để đấu nối và hàn dây cho các dự án nhỏ. Dùng kẹp giấy tạo tiếp xúc điện, có lỗ đẩy pin ra. In bằng PLA/PETG, không cần support/brim.

👁️
26
Lượt Xem
❤️
1
Lượt Thích
📥
3
Lượt Tải
Cập Nhật Jan 03, 2026
Chi tiết
Tải xuống
Bình Luận
Khoe bản in
Remix

Mô tả

Khay/đế giữ pin cho CR-2032

Halterung này dùng để đấu nối pin cúc áo CR2032. Bằng cách bẻ cong kẹp giấy (Büroklammer) cho phù hợp, mình tạo được tiếp xúc điện. Nhờ vậy bạn có thể hàn (solder) dây bất kỳ vào và dùng cho các dự án nhỏ. 
Ở mặt dưới/mặt sau có một lỗ nhỏ để đẩy viên pin ra bằng kẹp giấy. Trong hình có các bước chi tiết để lắp ráp halterung này. Bạn cũng có thể tháo rời hai phần (nắp và phần đế). Tuy nhiên khi làm các dự án cần hàn, thực tế cho thấy dán lại bằng vài giọt keo siêu dính (Sekundenkleber) sẽ tiện hơn.

Vật liệu: PLA, PETG hoặc vật liệu nào bạn đang có.
Support: không cần
Brim, v.v.: không cần

Lượng vật liệu: khoảng 5g ~ 1,6m

Có tip gì để chỉnh sửa/tuỳ biến không? Cứ nhắn tin cho mình nhé.

Giấy phép

Tác phẩm này được cấp phép theo

Creative Commons — Attribution

CC-BY

Yêu cầu ghi công
Remix & phái sinh Được phép
Sử dụng thương mại Được phép

File mô hình

TẤT CẢ FILE MÔ HÌNH (4 Tập tin)
Đang tải files, vui lòng chờ...
Vui lòng đăng nhập để bình luận.

Chưa có bình luận nào. Hãy là người đầu tiên!

Vui lòng đăng nhập để khoe bản in của bạn.

Chưa có bản in nào được khoe. Hãy là người đầu tiên!

Remix (0)