Giá đỡ điện thoại điều chỉnh cho thị kính kính thiên văn
Giá đỡ điện thoại có thể điều chỉnh, giúp bạn gắn điện thoại vào thị kính kính thiên văn để chụp ảnh thiên văn. Sản phẩm này được thiết kế đa dụng, hỗ trợ các thị kính có đường kính ngoài từ 31-45mm và điện thoại rộng 73-90mm. Dễ in và lắp ráp, vật liệu PETG phù hợp.
Mô tả
Giá đỡ điện thoại có thể điều chỉnh để gắn vào thị kính kính thiên văn cho chụp ảnh thiên văn.
Tôi đã thiết kế cái giá đỡ này cho điện thoại thông minh, cố gắng làm nó thật đa dụng.
Có thể nói, đây là một phụ kiện không thể thiếu để tận dụng những khả năng tuyệt vời mà các thiết bị hiện đại mang lại, đặc biệt nếu bạn quan sát cộng đồng và mời mọi người tự chụp ảnh Mặt Trăng chẳng hạn.
Nó có thể gắn vào các thị kính có đường kính ngoài từ 31 đến 45 mm. Nó hỗ trợ các thiết bị có chiều rộng từ 73 đến 90 mm.

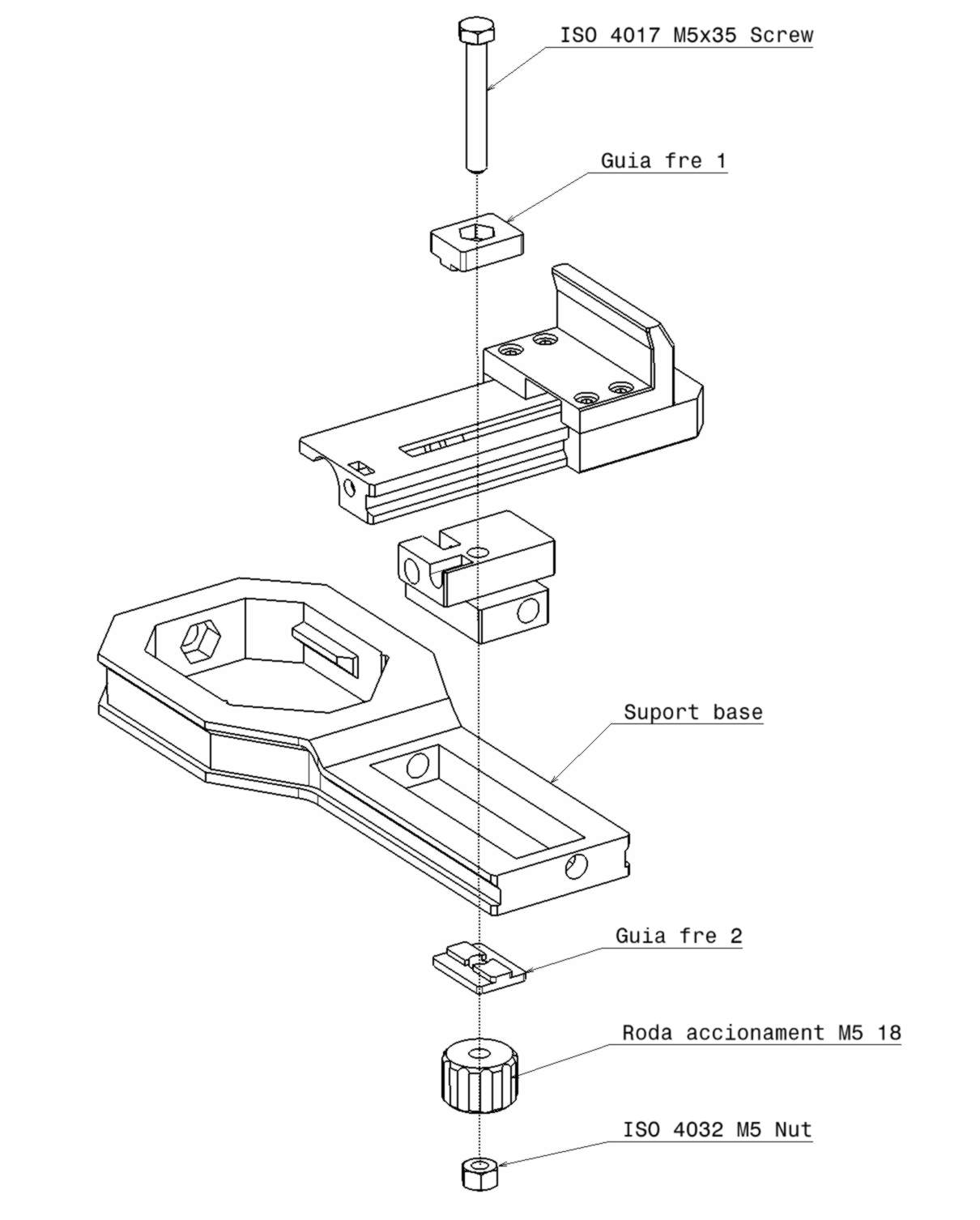
Nhìn chung, các bộ phận không có quá nhiều khó khăn khi in hay lắp ráp. Vì đây là một cơ chế có các rãnh trượt, bạn cần loại bỏ cẩn thận các lỗi in nhỏ (bao gồm cả chân voi) để đảm bảo các bộ phận trượt trơn tru mà không bị kẹt, kể cả các lỗ cho ốc vít.
Xem trong các tệp cấu hình cách đặt các bộ phận trên bàn nhiệt để có bề mặt tốt nhất. Đặc biệt, bộ phận "cruceta" phải được đặt như trong hình và chặn tất cả các giá đỡ bên trong, chỉ hỗ trợ hai bên. Đây là bộ phận then chốt của cơ chế.

Bộ phận "topall mobil" cần giá đỡ và phải được gỡ bỏ cẩn thận. Bạn sẽ cần làm nhẵn bề mặt thật tốt.
Nên dán một dải cao su hoặc vật liệu chống trượt, ít nhất là ở một trong hai mặt để tránh làm rơi điện thoại. Thêm vật liệu này sẽ không cần phải dùng nhiều lực để giữ thiết bị.

Nhựa PETG là vật liệu rất phù hợp cho mẫu này.
Vật liệu bổ sung
x1 ISO 4017 Ốc vít M6x100 x1 Ốc vít ISO 4017 M6x90 x1 Ốc vít ISO 4017 M6x40 x1 Ốc vít ISO 4017 M5x35 x1 Ốc vít ISO 4017 M4x30 x4 Ốc vít ISO 4762 M3x12 x2 Đai ốc tự khóa ISO 10511 M6 x3 Đai ốc ISO 4032 M6 x1 Đai ốc ISO 4032 M5 x4 Đai ốc ISO 4032 M3
Các bộ phận và Lắp ráp


!(https://cdn.f3d-ai.com/uploads/public/694/5c0/e8a/6945c0e8af80a564093007.jpg)
Các đai ốc tự khóa phải được siết vừa đủ để không có độ rơ, nhưng ốc vít quay trơn tru không bị ma sát.


Chúc bạn thấy nó hữu ích và chụp được những bức ảnh đẹp với bầu trời thật quang đãng!!!
Giấy phép
Tác phẩm này được cấp phép theo
Creative Commons — Attribution — Noncommercial — Share AlikeCC-BY-NC-SA
File mô hình
Chưa có bản in nào được khoe. Hãy là người đầu tiên!
Chưa có bình luận nào. Hãy là người đầu tiên!